燃机跳闸分析报告,收藏!
一、事故前运行状态
9E燃机运行中,负荷50MW,联合循环汽机运行,负荷35MW。燃机发电机保护装置G60A运行正常,G60B有两个报警存在,L86G2AMON 74-86G2A LOCK OUTRELAY COIL FAULT,L94DP2 GENERATOR PROTECTION FIRST G60BCRITICAL FAILURE。
二、 机组停机经过
2020年5月18日,天气阵雨。00时32分电厂1号主变150KV侧开关52L跳闸,高厂变15KV侧开关52A跳闸,发电机解列,燃机空载全速,20KV备用电源MA14开关自投成功。
三、现场检查及处理情况
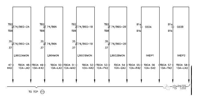
检查燃机发电机保护装置,发现G60A装置面板无灯显示,闭锁继电器74/86G-1A、74/86G-1B、74-86N指示灯不亮,G60B装置面板上跳闸指示灯点亮,74/86G-2B动作。

解列时MARKV上报警显示:P514保护模块1电源丢失,P537/P540/541闭锁继电器线圈故障,P534发电机G60A严重故障。(截屏为保护模块1重新上电后)

经检查,在直流电源柜上,保护模块1的电源开关(Q100)跳闸,发电机保护装置G60A和闭锁继电器74-86G1A/74-86G2A/74-86N失电。试送电G60A/74-86G1A/74-86G2A上电正常,74-86N指示灯未亮,据当值人员讲,解列时闭锁继电器74-86N伴随砰响似发出弧光,怀疑继电器故障。
拆卸闭锁继电器74-86N,发现继电器面板内电路板元件有打火烧蚀痕迹,判断面板损坏打火短路造成电源开关跳闸。

四、跳机分析
闭锁继电器74-86N面板内电路板损坏打火短路,造成电源开关跳闸,保护模块1失电,发出P534发电机G60A严重故障报警,由于5月17号已经存在的P533发电机G60B严重故障报警,根据MARKV上逻辑:
533 L94DP2_ALM GEN PROT FIRST G60B CRITICALFAILURE
534 L94DP1_ALM GEN PROT FIRST G60A CRITICALFAILURE

L94DP1、L94DP2两个报警同时出现,L52GT动作闭锁74-86G2B,解列发电机。
五、启机处理过程
整体更换了闭锁继电器74-86N,送电正常,L94DP1已恢复。
启机,02:27燃机并网。
六:急需解决的问题
目前保护装置G60B不时发GEN PROT FIRST G60B CRITICAL FAILURE报警,现场检查装置G60B上B1a、B1b开路未闭合。

G60B装置上显示:

结合近年装置更换新电池后,两周就又出亏电显示现象,怀疑装置本身故障发94DP2报警,此报警对机组安全运行造成严重隐患,需GE方提供支持处理。
