铸造件结构设计:壁厚均匀
铸造件结构设计:壁厚均匀 图 例 说 明 
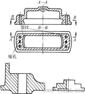
不合理

合理 改进后壁厚均匀,避免了薄壁与厚壁的连接裂纹和厚壁的缩孔 
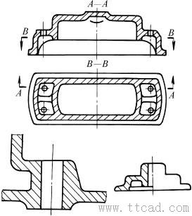
不合理

合理
改进后由加强肋代替厚壁,壁厚均匀 
不合理

合理 改进后利用嵌件使壁厚均匀;改进后壁厚均匀 
不合理

合理 改进后外形减小,壁厚均匀;改进后外形不变,壁厚均匀 
不合理 合理 改进后壁厚均匀,增加配合凸台T
铸造件结构设计:壁厚均匀 图 例 说 明 
不合理

合理 改进后壁厚均匀,避免了薄壁与厚壁的连接裂纹和厚壁的缩孔 
不合理

合理
改进后由加强肋代替厚壁,壁厚均匀 
不合理

合理 改进后利用嵌件使壁厚均匀;改进后壁厚均匀 
不合理

合理 改进后外形减小,壁厚均匀;改进后外形不变,壁厚均匀 
不合理 合理 改进后壁厚均匀,增加配合凸台T