切削件结构设计:合理选择基准
切削件结构设计:合理选择基准
图 例 说 明 
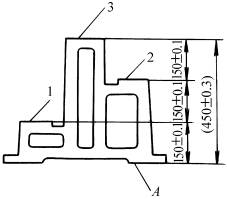
不合理

合理 改进后,设计基准和工艺基准统一到A面,平面1、2精度可降低,便于安装和测量 
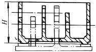
不合理 合理 改进后,镗杆支承吊架装在箱体下表面与装配基准重合,尺寸H要求降低
切削件结构设计:合理选择基准
图 例 说 明 
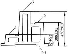
不合理

合理 改进后,设计基准和工艺基准统一到A面,平面1、2精度可降低,便于安装和测量 
不合理 合理 改进后,镗杆支承吊架装在箱体下表面与装配基准重合,尺寸H要求降低