切削件结构设计:采用组合部件

2020-10-29 02:52:49

  切削件结构设计:采用组合部件

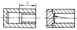
   图 例 说明 切削件结构设计:采用组合部件

不合理

  

切削件结构设计:采用组合部件

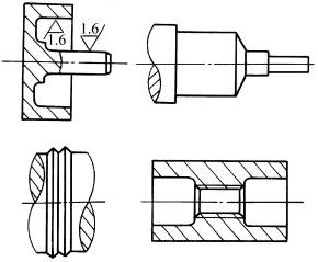
   合理 改进后,零件结构简单化,加工难度和加工量均减少 切削件结构设计:采用组合部件 不合理 切削件结构设计:采用组合部件 合理 改进后,内孔加工难度降低;改进后,球面加工难度降低

下一篇:脚踏板与操作方式
上一篇:模锻件结构设计:钢件最小幅板厚度
返回顶部小火箭